광고
광고
광고
광고

[소방관이 발명한 소방장비] 화재진압 전용 굴삭기

스물세 번째 이야기

광고
경기 화성소방서 황선우 | 기사입력 2021/11/19 [11:00]

[소방관이 발명한 소방장비] 화재진압 전용 굴삭기

스물세 번째 이야기

경기 화성소방서 황선우 | 입력 : 2021/11/19 [11:00]

이번 호에 소개할 발명 소방장비는 ‘화재진압 전용 굴삭기’다. 소방 현장에서 사용하는 굴삭기로 굴삭기에 방수관창 등을 구비해 굴삭기 버킷의 움직임에 따라 방수관창이 함께 움직이면서 물을 분사할 수 있도록 했다. 목재나 쓰레기 화재 등 잔해물을 제거하면서 진화작업을 해야 하는 화재 현장에서 사용할 수 있다.

 

발명의 배경

소방관은 화재를 진압할 때 소방 호스를 이용, 소방수를 분사해 화재를 진압하게 된다. 특히 목재나 쓰레기 등에서 발생한 화재는 겉으로 드러난 불길을 모두 진화하더라도 내부에는 여전히 불씨가 남아있는 경우가 많다.

 

이럴 때 불씨가 조금만 남아있더라도 화재가 재발할 수 있어 굴삭기 등과 같은 중장비를 이용해 잔해물을 제거하거나 뒤집어 가면서 속 불까지 진화해야 한다.

 

종래에는 굴삭기 등을 이용해 잔해를 제거하면서 소방대원들이 굴삭기 버킷 방향으로 방수관창을 이용해 물을 뿌려주는 방식으로 잔불을 제거했다.

 

그러나 하나의 방수관창에는 최소 두 명 이상의 소방대원이 필요하다. 화재 정도에 따라 잔불 제거에 2~4개의 방수관창이 동원되기 때문에 최소 8명 정도의 소방대원이 필요하다.

 

또 잔해가 많은 경우엔 모든 잔해를 일일이 제거하면서 잔불을 제거해야 하므로 상당한 시간이 소요된다. 따라서 일반 화재보다 더 많은 시간 동안 화재를 진압해야 하는 어려움이 있다.

 

이처럼 목재 화재 또는 쓰레기더미 등에서 발생한 화재의 경우 소방대원들이 굴삭기 등과 같은 중장비 옆에서 작업해야 하므로 정신적 또는 육체적으로 고충이 많다. 중장비 근처에서 화재진압을 하다 보면 자칫 안전사고가 발생할 우려도 있다.

 

굴삭기를 조정하는 사람은 원하는 방향으로 물이 뿌려지지 않으면 작업이 더뎌지는 어려움이 있을 뿐 아니라 굴삭기 주변 소방대원이 안전사고를 당하지 않도록 하려면 상당한 신경을 써야 한다. 따라서 화재진압은 물론 작업환경에서도 많은 어려움이 있는 게 현실이다.

 

이 장비는 목재 또는 쓰레기 화재 시 더욱 효율적으로 진화를 가능하게 하는 동시에 투입되는 인원을 최소화할 수 있는 화재진압 장비의 필요성을 절감해 발명하게 됐다.

 

과제의 해결 수단

굴삭기 등과 같은 중장비를 이용해 목재 또는 쓰레기 화재 등을 진압하고 잔불 제거를 하는 데 있어 굴삭기 붐에는 방수관창을 고정하는 관창고정부가 구비되고 이 고정부에는 방수관창이 장착될 수 있다.

 

이 발명의 바람직한 실시 예로 방수관창과 급수 차량을 연결하는 소방호스는 굴삭기 하부구조와 상부구조의 연결부에서 회전커플링에 의해 연결돼 상부구조가 회동하더라도 소방호스가 꼬이지 않도록 할 수 있다.

 

또 방수관창은 굴삭기 버킷의 움직임에 따라 분사구의 방향이 버킷 방향이 되도록 회동하는 걸 특징으로 한다.

 

버킷에는 유도신호 발신기가 구비되고 굴삭기 붐 또는 케빈의 전면에는 위치 감지센서가 갖춰져 버킷의 움직임에 따라 위치 감지 센서가 유도신호 발신기의 위치를 감지해 분사구가 유도발신기의 위치를 향하도록 하는 걸 특징으로 한다.

 

발명의 내용

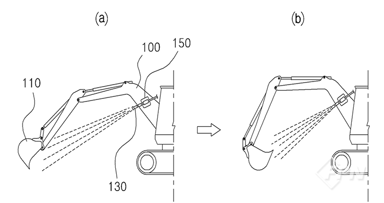
발명의 바람직한 실시 예를 첨부 도면에 따라 상세하게 설명하면 [도면 1]은 소방용 굴삭기의 구성을 나타내는 도면이고 [도면 2]는 [도면 1]에 도시된 방수관창의 동작을 나타내는 도면이다. 

 

▲ [도면 1] 소방용 굴삭기의 구성을 나타내는 도면

▲ [도면 2] 방수관창의 동작을 나타내는 도면

 

 

[도면 1]을 참조하면 소방용 굴삭기는 목재 또는 쓰레기 화재 등을 진압하거나 이들 화재의 잔불 제거 시 사용되는 것으로 굴삭기 붐(100)에는 방수관창(130)이 관창고정부(150)에 장착돼 구비될 수 있다. 따라서 관창고정부가 구동장치에 의해 회동 가능하게 조절될 수 있다.

 

방수관창은 급수 차량(10)에서 공급되는 물을 분사하는 노즐이다. 일반적으로 화재진압 등에서 사용되는 공지의 방수관창과 동일하거나 유사한 구조로 이뤄질 수 있다. 관창고정부는 굴삭기 붐에 구비돼 앞서 설명한 방수관창을 고정하면서 장착한다.

 

관창고정부는 굴삭기 붐에 탈부착이 가능하도록 구비될 수 있고 방수관창은 관창고정부에 탈부착할 수 있도록 구비될 수 있다. 화재가 발생한 경우 관창고정부 또는 방수관창을 장착해 사용하고 화재진압이 완료된 경우엔 제거할 수도 있다.

 

한편 방수관창을 통해 분사되는 물은 급수 차량에서 공급되는데 급수 차량은 소방차 등이 될 수 있고 공지의 살수차 등이 사용될 수도 있다. 앞서 설명한 것처럼 방수관창은 굴삭기 붐에 고정되고 소방호스를 통해 급수 차량에 연결된다.

 

이때 굴삭기 후방에는 방수관창에 연결된 소방호스를 감는 릴통(170)이 더 갖춰질 수 있으며 릴통은 소정의 범위 내에서 태엽장치(미 도시) 등에 의해 풀렸다가 감겼다가를 반복할 수 있다.

 

이에 따라 굴삭기 상부가 좌우로 움직이면 소정의 범위 내에서 소방호스가 자동으로 감겼다가 풀렸다가를 반복하면서 굴삭기의 움직임을 방해하지 않도록 할 수 있다.

 

[도면 2]를 참조하면 소방용 굴삭기에 구비된 방수관창은 특정 위치를 향해 분사구가 회동할 수 있도록 갖춰진다. 굴삭기를 이용해 목재나 쓰레기 화재 등을 진압할 때 굴삭기 버킷(110)을 이용해 목재 또는 쓰레기더미를 제거하거나 뒤집어 가면서 작업하게 된다. 

 

이 과정에서 그 속에 있던 속 불이 드러나게 되므로 방수관창은 항상 굴삭기 버킷이 위치하는 방향으로 분사구를 향하도록 할 필요가 있다. 이로 인해 굴삭기 버킷의 움직임에 따라 방수관창의 분사구도 회동하도록 할 수 있다.

 

방수관창은 버킷이 특정 위치에 오거나 특정 영역에 있을 때만 물을 분사하도록 할 수 있다. 예를 들어 방수관창은 버킷이 붐 방향으로 접힐 때만 물을 분사하도록 할 수 있고([도면 2]의 (b)) 붐의 반대방향으로 펴질 때만 물을 분사하도록 할 수 있다([도면 2]의 (a)). 특정 지점이 아니라 일정한 범위에 있을 때만 물을 분사하도록 할 수도 있다.

 

방수관창은 굴삭기 붐의 측면에 고정되는 게 바람직한데 이 경우 분사구의 좌ㆍ우측 방향은 항상 버킷과 동일한 수직평면에 놓이게 된다. 따라서 방수관창의 상ㆍ하 방향만 조절해 주면 방수관창의 분사구가 항상 버킷과 동일한 방향이 되도록 할 수 있다.

 

방수관창의 움직임은 버킷에 유도신호 발신기를 구비하고 굴삭기 붐 또는 케빈의 전면에 위치 감지센서를 구비해 버킷 움직임에 따라 위치감지센서가 유도신호 발신기의 위치를 감지해 방수관창의 분사구 방향을 조절하도록 할 수 있다.

 

이 같은 구성에서 작업자가 굴삭기 버킷을 움직이면서 화재 현장의 목재나 잔해 또는 쓰레기 등을 제거할 때 방수관창이 버킷 방향으로 물을 분사해 주기 때문에 소방대원들이 굴삭기 측면에 서서 위험하게 물을 뿌려줄 필요가 없게 된다.

 

이 발명의 상세한 설명에서는 구체적인 실시 예에 관해 설명했으나 발명의 범주에서 벗어나지 않는 한도 내에서 여러 가지 변형이 가능함은 물론이다.


발명의 기대효과

이 발명은 다음과 같은 효과를 도모할 수 있다.

 

우선 장비 동력을 이용해 방수관창을 이동하거나 고정하기 때문에 소방대원들이 직접 중장비 주변에서 위험하게 작업을 할 필요가 없다는 이점이 있다. 중장비를 운전하는 사람이 잔불 제거에만 신경을 쓰면 되기 때문에 작업효율이 향상됨은 물론 안전사고도 방지할 수 있다.

 

본 발명에 대한 궁금한 점은<119플러스>로 문의하면 된다.

 

경기 화성소방서_ 황선우 : hsw0914@korea.kr

 

<본 내용은 소방 조직의 소통과 발전을 위해 베테랑 소방관 등 분야 전문가들이 함께 2019년 5월 창간한 신개념 소방전문 월간 매거진 ‘119플러스’ 2021년 11월 호에서도 만나볼 수 있습니다.> 

소방관이 발명한 소방장비 관련기사목록
광고
[연속 기획]
[연속 기획- 화마를 물리치는 건축자재 ⑧] 내화채움구조 넘어 종합 방화솔루션 기업으로의 도약 꿈꾸는 아그니코리아(주)
1/5
광고
광고
광고
광고
광고
광고
광고
광고
광고
119플러스 많이 본 기사