광고
광고
광고
광고

[소방관이 개발한 소방장비] 소방차에 적재 가능한 기동형 서브 소방차

다섯 번째 이야기

광고
경기 용인소방서 황선우 | 기사입력 2020/04/14 [16:40]

[소방관이 개발한 소방장비] 소방차에 적재 가능한 기동형 서브 소방차

다섯 번째 이야기

경기 용인소방서 황선우 | 입력 : 2020/04/14 [16:40]

이번 호에 소개할 발명 소방장비는 소방차에 적재 가능한 기동형 서브 소방장치다. 이 장치는 소방차 화물창에 적재할 수 있으며 기동성을 높여 장소에 구애받지 않고 화재 진압을 할 수 있도록 고안됐다.

 

발명 배경

▲ 소방차 진입 곤란(출동 지연 모습)

초기진화는 화재 발생 시 인명이나 재산 피해를 줄이기 위해 가장 중요한 요소다. 화재로 인한 인명 또는 재산상 손실의 최소화는 사실상 얼마나 빨리 소방차가 도착해 초기에 신속하게 진화하는지에 달렸다고 해도 과언이 아니다.

 

그러나 현실에서는 소방차가 신속하게 화재 현장에 도착하더라도 좁은 골목길이나 주차된 차량, 도로 사정의 어려움 등 여러 요인으로 화재 현장을 눈앞에 두고도 접근하지 못하는 안타까운 일이 많이 벌어진다. 

 

이런 문제 해결을 위해 소방도로 정비나 위급 시 소방차가 주차할 수 있는 공간을 별도로 마련하는 등 다양한 방안이 제시되고 있다.

 

하지만 화재와 같은 재난이 일상적으로 빈번하게 발생하는 건 아니므로 안전 불감증과 주변 거주민 편의라는 명목하에 이런 규정이 잘 지켜지지 못하는 실정이다.

 

▲ 소방통로 확보훈련ㆍ소방차 길 터주기 캠페인(위 용인소방서, 아래 경주소방서)

특히 오래된 가옥이 밀집한 지역의 좁은 골목길에는 별도소방도로를 만들기 어렵다. 생활 수준 향상으로 1가구 1차량 시대가 도래함에 따라 주차시설이 부족해져 항시 소방도로를 비워두는 것 또한 쉽지 않다.

 

대한민국 소방관이라면 누구나 공감할 것이다. 아파트와 다세대주택 단지가 주류인 도시는 심각한 주차난 때문에 비교적 소형차량인 구급차 진입도 어려운 경우가 많다. 농촌은 도로가 협소하거나 지반이 약해 소방차 진입이 어려운 경우가 다반사다.

 

이에 대한 해결책으로 오래전부터 소방통로 확보를 위한 소방차 길 터주기 캠페인을 진행하고 있으나 아파트단지의 경우 심야 시간이 되면 주차된 차량으로 인해 소방차 진입이 거의 불가능하다.

 

이에 대한 해결방안으로 개발된 제품이 바로 ‘소방차에 적재 가능한 기동형 서브 소방차’다.

 

 

특허출원을 위한 그간의 노력

특허출원을 준비하던 중 아내가 일본인인 동료 직원이 일본에도 유사한 소방차가 있다고 했다. 그 소방차가 궁금해 곧바로 일본 도쿄에 위치한 가와사키소방서로 갔다. 하지만 일본의 소방차에 적재된 호스레이어카는 우리가 발명하려는 서브형 소방차와 전혀 다른 형태였다. 

 

▲ 평상시 소방차 적재된 상태

▲ 버튼을 눌러 작동시켜 바닥으로 내려진 상태

▲ 호스레이어카가 지면으로 이탈된 상태

▲ 호스레이어카가 화재 현장으로 이동하는 모습

▲ 소방호스가 전개 완료된 상태

▲ 소방 호스레이어카 활용도와 사용빈도, 관련 법규 등 현장에서의 질의ㆍ답변

▲ 일본 견학을 마치고 소방대원들과의 기념사진


우리나라 유사 사례와 문제점

 

▲ 충북소방본부 다기능 미니 소방차

▲ 전남 무안소방서 등 삼륜 오토바이


우리나라에서도 위와 유사한 방법을 활용하고 있으나 신속성 미흡이나 운용 인력 부족 등으로 실제 운용하는 데 많은 제약이 따르고 있다.

발명의 이해

 

▲ [도면 1] 발명 일 실시 예에 따른 소방차에 적재 가능한 기동형 서브 소방장치가 소방차의 화물창에 적재되거나 화물창으로부터 분리된 상태를 도식적으로 나타낸 평면 개념도

▲ [도면 2] 발명 일 실시 예에 따른 소방차에 적재 가능한 기동형 서브 소방장치의 전체적인 구성을 나타낸 평면 개념도

▲ [도면 3] [도면 2]의 III 부분을 확대해 도식화. 본 발명의 다른 실시 예에 따른 소방차에 적재 가능한 기동형 서브 소방장치의 주요부인 연결 어셈블리의 전체적인 구조ㆍ작동 상태를 도식적으로 나타낸 개념도

▲ [도면 4] [도면 1]의 IV 부분을 확대해 도식화. 본 발명의 일 실시 예에 따른 소방차에 적재 가능한 기동형 서브 소방장치의 주요부인 주차 유닛의 전체적인 구조와 본체를 화물창에 고정한 상태를 나타낸 평면 개념도


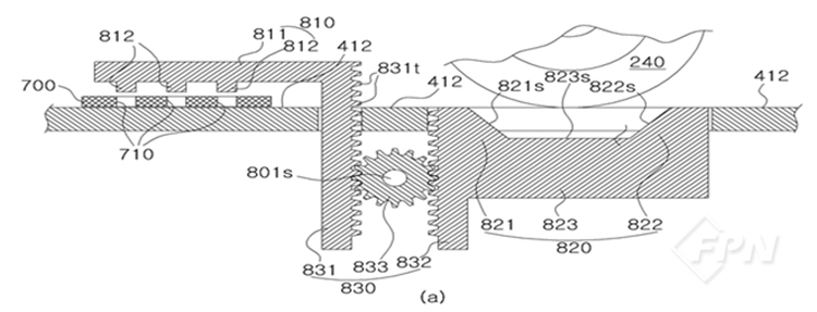
▲ [도면 5] [도면 1]의 V-V 선 단면을 도식화. 본 발명의 일 실시 예에 따라 소방차에 적재 가능한 기동형 서브 소방장치의 주요부인 주차 유닛의 작동 과정을 나타낸 측 단면 개념도다. [도면5](a)는 잠금 구와 멈춤 구의 맞물림이 해제돼 본체가 화물창으로부터 분리 가능한 상태를, [도면 5](b)는 잠금구와 멈춤구가 맞물려 본체가 화물창에 고정된 상태를 나타내고 있다.

 

【부호의 설명】
100... 본체   111... 제1 호스(65㎜) 적재함   112... 제2 호스(40㎜) 적재함   113... 제1 직경의 연결구를 가진 소방호스   114... 제2 직경의 연결구를 가진 소방호스   121... 호흡용기 수납함   122... 기구 수납함   130... 예비 수관 수납함   140... 선택 밸브   150... 운전석   160... 서브 탑승간   210, 220, 230, 240... 복수의 휠   240... 복수의 휠(210, 220, 230, 240) 중 하나의 휠   300... 연결 어셈블리   310... 배출 포트   320... 제1 방수구   330... 제2 방수구   340... 제1 조작밸브   350... 제2 조작밸브   360... 볼 조인트   400... 소방차   410... 화물창   411... 레일   412... 화물창(410)의 바닥면   500... 급수구   600... 충압 펌프   700... 고정 브라켓   710... 고정홀   800... 주차 유닛   801... 잠금 모터   801s... 잠금 모터(801)의 구동축   810... 잠금구   811... 잠금 바   812... 잠금 돌편   820... 멈춤구   821... 제1 멈춤편   821s... 제1 경사면   822... 제2 멈춤편   822s... 제2 경사면   823... 연결편   823s... 받침면   830... 구동 전달부   831... 제1 랙 기어   831t... 제1 기어 이   832... 제2 랙 기어   832t... 제2 기어 이   833... 피니언 기어

 

발명 활용 방법

1.서브형 소방차는 소방펌프차 후측 적재함에 고정ㆍ적재돼 있다. 또 상시 소방차의 주 배관과 결합돼 있어 평상시에는 서브형 소방차를 활용해 기존 방식과 같이 사용할 수 있다.

※ 서브형 소방차에는 경광등과 사이렌, 무전기 등이 구비되며 예비용 소방호스 등이 적재돼 있다. 

 

2.서브형 소방차는 도로가 협소해 진입이 곤란하거나 불가능하다고 판단되는 경우 활용한다.

 

3.현장에 도착한 소방대원은 공기호흡기와 장비를 착용하고 즉시 소방차에서 하차한다.

 

4.운전원은 후방 측에 적재된 서브형 소방차가 하강할 수 있도록 리프트를 작동시킨다.

 

5.경방 대원 1명은 서브형 소방차에 신속하게 탑승한다.

 

6.서브형 소방차에 탑승한 경방 대원은 시동을 걸고 하강한다.

※ 시동을 걸면 자동으로 주 배관이 폐쇄되고 바이패스 배관으로 소화수가 송수된다. 

 

7.대기 중인 경방 대원 2명이 함께 탑승한다.

 

8.서브형 소방차에 경방 대원이 탑승하는 즉시 안전 운행해 신속하게 현장으로 출동한다.

※ 3명 중 1명은 운전, 1명은 상황 보고ㆍ운전원과 무선 등, 1명은 소방호스 전개ㆍ안전 주시 임무 수행

 

9.화재 현장 방향으로 약 40㎞/h 속도로 운행 가능하며 서브형 소방차 후측에 적재된 소방호스(65㎜)가 자동으로 풀리면서 연장된다.

※ 이때 소방호스가 짧으면 전복 등의 위험이 있을 수 있으므로 2본 정도에서 위험경보를 알려 준다. 또 소방펌프차 운전원은 신속한 송수를 위해 예비 송수를 한다.

※ 화재 현장이 멀어 서브형 소방차 후측에 적재된 송수용 소방호스(65㎜)가 짧으면 멈춰 예비용으로 적재된 소방호스를 연장한다.

 

10.소방펌프차 측에 대기하고 있는 운전원은 신속하게 방수할 수 있도록 미리 예비 송수를 시행한다.

 

11.소방펌프차 측에 대기하고 있는 운전원은 화재 현장에 도착한 경방 대원의 무전 등으로 방수 개시 요청에 따라 적정한 방수압력으로 송수한다.

※ 화재를 진압하는 데 방수압력이 낮은 경우 서브형 소방차에 부착된 충압펌프를 동작시켜 방수압력을 높인다.

 

12.화재 진압 활동 중 공기호흡기 용기가 필요하면 서브형 소방차에 적재된 예비용 공기호흡기 용기를 활용할 수 있다.

 

13.철수 후 서브형 소방차를 소방펌프차에 탑재하면 서브형 소방차 후측의 흡수구(급수구)가 소방펌프차의 주 배관과 자동으로 결합돼 평상시(현재 소방펌프차처럼)와 같이 사용한다.

 

발명의 기대효과

첫째, 도로가 협소하거나 주ㆍ정차 차량 등으로 소방차 진입이 곤란할 때 활용하면 진입이 가능해져 신속한 화재 진압이나 인명구조가 가능하다.

 

둘째, 신속한 재난 대응이 가능하므로 골든타임을 확보할 수 있다.

 

셋째, 서브형 소방차가 적재(탑승)돼 있다 해도 평상시에는 소방펌프차를 사용할 수 있다.

 

넷째, 서브형 소방차에 화재진압대원 세 명이 탑승할 수 있으므로 화재 현장까지 뛰어가지 않아도 된다. 따라서 체력 확보와 원활한 현장 활동이 가능해진다.

 

다섯째, 서브형 소방차에 충분한 소방호스(송수구 측 적재함 - 65㎜ 소방호스 / 방수구 측 적재함 - 40㎜ 소방호스) 적재와 예비용 소방호스, 공기호흡기 용기, 파괴 장비 등 기본 장비가 적재돼 있어 현장 활동에 활용할 수 있다.

 

여섯째, 서브형 소방차에 산악용 바퀴를 장착하면 산불화재에도 유용하게 사용할 수 있다.

 

일곱째, 본 발명은 현재 국제 특허출원 중이다. 개발된다면 수출을 통한 국익 창출이 가능해 질 것으로 예상된다.

 

개발자의 바람

국내 소방뿐 아니라 일본, 중국, 인도, 베트남 등 대부분 국가가 우리나라와 비슷한 상황이다. 소방차 진입이 어려운 아파트(특히 심야 시간) 등 화재 현장에 신속하게 대응하기 위해서라도 이 장비는 반드시 개발돼야 한다.

 

지난해 국내 소방차 제작업체에서 개발에 착수했었는데 우리나라 소방차 규격서(KFI) 변경이 어려워 개발이 중단됐다. 

 

우리나라 소방관서뿐 아니라 해외에 수출해 국익을 창출하기 위해선 소방청 차원에서 소방차 규격서 개정이 필요하다.

 

대한민국의 국익 창출 차원에서 그리고 선진 소방 이미지 구축을 위해서라도 소방청에서 서브형 소방차 개발에 힘써 줬으면 하는 게 발명자로서의 심정이자 바람이다.

 

본 발명에 대한 궁금한 점은 <119플러스>로 연락 주시기 바랍니다.

 

경기 용인소방서_ 황선우

 

<본 내용은 소방 조직의 소통과 발전을 위해 베테랑 소방관 등 분야 전문가들이 함께 2019년 5월 창간한 신개념 소방전문 월간 매거진 ‘119플러스’ 2020년 3월 호에서도 만나볼 수 있습니다.>

소방관이 발명한 소방장비 관련기사목록
광고
[연속 기획]
[연속 기획- 화마를 물리치는 건축자재 ⑧] 내화채움구조 넘어 종합 방화솔루션 기업으로의 도약 꿈꾸는 아그니코리아(주)
1/5
광고
광고
광고
광고
광고
광고
광고
광고
광고