광고
광고
광고
광고

[소방관이 개발한 소방장비] 저층 건물 인명구조용 사다리 차량

여섯 번째 이야기

광고
경기 용인소방서 황선우 | 기사입력 2020/04/20 [10:00]

[소방관이 개발한 소방장비] 저층 건물 인명구조용 사다리 차량

여섯 번째 이야기

경기 용인소방서 황선우 | 입력 : 2020/04/20 [10:00]

이번 호에 소개할 발명 소방장비는 저층 건물 인명구조용 차량이다. 이 차는 주로 저층에서 화재 등 재난 발생 시 기동성을 높여 장소에 구애받지 않고 신속하고 안전하게 화재진압이나 인명구조를 할 수 있도록 고안됐다.

 

발명의 배경

전국 소방서에는 고가 사다리 차량과 굴절식 사다리 차량이 배치돼 있다. 이 차들은 도로에 다른 차량이 주ㆍ정차돼 있거나 협소한 도로에서는 사다리 전개가 쉽지 않다.

 

▲ 고가사다리차 전개 훈련

▲ 접이식 사다리 전개훈련





 

 

 

 

 

 

 

 

 

 

현장에서 주로 사용하는 복식사다리는 3층 이하 저층 건물에서 사용한다. 소방관들이 화재현장에 도착하면 대원 중 한 명은 소방차량 적재함으로 올라가 고정된 수동식 복식사다리를 해체하고 소방차량 아래에서 대기 중인 다른 대원에게 전달한다. 이 대원은 전달받은 사다리를 지면에 내려놓는다.

 

적재함에 올라갔던 대원이 내려오면 2인 1조로 한 명은 전면에, 다른 한 명은 후면에 각각 위치해 사다리를 설치할 곳까지 이동시킨다. 이후 한 명은 사다리를 고정지지하고 다른 한 명은 사다리를 타고 등반해 화재진압이나 인명구조 활동을 전개한다.


이렇듯 수동식 복식사다리는 설치에 많은 시간이 소요된다. 게다가 지면이 경사진 경우나 견고하지 않은 경우에는 설치할 수 없다. 특히 토지에 설치하면 시간이 지남에 따라 방수된 물에 의해 지반 침하가 생기므로 간혹 사다리가 한쪽으로 균형을 잃고 넘어지는 사고가 발생한다.


실제 건물 화재는 고층아파트의 경우보다 저층 주택에서 발생하는 경우가 훨씬 많은데도 저층 주택의 화재 진압이나 인명구조를 위한 사다리 차량에 대한 연구 개발이 부족한 실정이다.


이에 대한 해결방안으로 개발된 제품이 바로 ‘저층의 화재진압과 인명구조를 할 수 있는 사다리차’다.


이 차량은 화재 발생의 대부분을 차지하는 건물 저층에서 인명구조를 위해 현장 접근을 용이하고 신속하게 할 수 있도록 하기 위해 개발됐다.

 

발명의 구체적인 내용

▲ [도면 1] 본 발명의 일 실시 예에 따른 건물 저층의 인명구조용 사다리 차량의 전체적인 구조를 나타낸 사시도


 

부호의 설명

 

100... 제1 패널             200... 제2 패널          

300... 제3 패널             400... 사다리 어셈블리

500... 지지대                600... 회전 제한구

610... 고정 브라켓         620... 고정대

630... 회전 방지 볼트     700... 차량

710... 적재함                712... 적재함 난간

720... 조작 패널

 


 

 

이 발명은 도시된 바와 같이 차량(700)의 적재함(710) 상측에 순차적으로 제1, 2, 3 패널(100, 200, 300)이 적층 결합된다. 제3 패널(300)에 사다리 어셈블리(400)가 결합되고 지지대(500)와 회전 제한구(600)는 사다리 어셈블리(400)에 결합된 구조다. 참고로 [도면 1]에 미설명 부호인 720은 조작 패널이다.

 

제1 패널(100)은 차량(700)의 적재함(710) 상측에 배치되고 차량(700)의 좌ㆍ우측 방향으로 왕복할 수 있다. 제2 패널(200)은 제1 패널(100) 상에 배치되고 차량(700)의 전ㆍ후방향으로 왕복할 수 있다. 제3 패널(300)은 제2 패널(200)에 대해 회전이 가능하다.

 

사다리 어셈블리(400)는 제3 패널(300)과 경사 회동할 수 있게 장착된다. 주택 저층 화재 시 접근할 수 있게 신축이 가능하도록 했다. 지지대(500)는 사다리 어셈블리(400)와 경사 회동이 가능하고 신축할 수 있게 결합한다.

 

적재함(710), 더욱 상세히는 적재함 난간(712) 또는 적재함(710) 바닥 면에 단부가 고정된다. 회전 제한구(600) 일단부는 사다리 어셈블리(400)와 탈착 결합되고 타단부는 제3 패널(300)을 통해 제2 패널(200)에 탈착 결합돼 사다리 어셈블리(400)가 제2 패널(200)에 회전하는 걸 제한한다.

 

▲ [도면 2] 본 발명의 주요부인 제1 패널과 적재함의 결합 관계를 나타낸 일부 분해 사시도


 

부호의 설명

 

100... 제1 패널 

110... 제1 레일

120... 중간 정지 금구  

130... 제1 유체 실린더

710... 적재함   

 


 

 

 

 

 

이 발명은 상기와 같은 실시 예 적용이 가능하며 다음과 같은 다양한 실시 예에도 적용할 수 있다. 제1 패널(100)은 전술한 바와 같이 적재함(710) 상면에 배치된다. [도면 2]를 참고하면 제1 레일(110)과 중간정지 금구(120), 제1 유체 실린더(130)를 포함하는 구조임을 파악할 수 있다. 복수의 제1 레일(110)은 제1 패널(100)의 상면에 차량(700)의 좌ㆍ우 방향으로 형성돼 평행하게 배치됐고 제2 패널(200)의 좌ㆍ우 방향 왕복을 위한 것이다.

 

중간정지 금구(120)는 제2 패널(200)이 제1 레일(110)을 따라 차량(700)의 좌ㆍ우 방향으로 왕복하다가 적재함(710)의 중앙부에 멈추도록 차량(700)의 전ㆍ후방향으로 배치됐다. 제1 유체 실린더(130)는 적재함(710)의 양측 가장자리에 각각 배치되고 제1 패널(100)의 저면과 결합해 신축하면서 제1 패널(100)을 차량(700)의 좌ㆍ우 방향으로 이동시킨다. 

 

다시 말해 제1 유체 실린더(130)의 일단부에 장착된 제1 브라켓(131)은 적재함(710)에 고정되고 제1 유체 실린더(130)의 타단부에 장착된 제2 브라켓(132)은 제1 패널(100) 저면에 장착되는 구조다. 

 

따라서 제1 패널(100) 일측에 배치된 제1 유체 실린더(130)가 신장하면 제1 패널(100)의 타측에 배치된 제1 유체 실린더(130)는 수축함으로써 제1 패널(100)은 일 방향으로, 즉 차량(700)의 좌측 또는 우측으로 이동하게 된다. 또 제1 패널(100)의 양측에 배치된 제1 유체 실린더(130) 전부 길이가 같아지면 제1 패널(100)은 적재함(710)의 정중앙에 위치하게 된다.

 

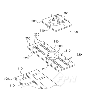
▲ [도면 3] 본 발명의 주요부인 제1 패널과 제2 패널, 제3 패널의 결합


 

 

부호의 설명

 

100... 제1 패널    110... 제1 레일

200... 제2 패널    210... 이동판

220... 제2 레일    230... 제3 레일

240... 제4 레일    250... 고정홈

260... 볼트홈      300... 제3 패널

310... 연통홀      320... 볼트공

350... 제5 레일 

 


     

 

 

제2 패널(200)은 전술한 바와 같이 제1 패널(100) 상에 장착된다. [도면 3]과 같이 이동판(210), 제2 레일(220), 제3 레일(230)과 고정홈(250)을 포함하는 구조임을 파악할 수 있다. 제2 레일(220)은 제2 패널(200)의 저면에 형성되고 제1 패널(100) 상면에 형성된 복수의 제1 레일(110)과 대응하는 위치에 배치돼 제1 레일(110)과 상호 결합한다.

 

제3 레일(230)은 제2 패널(200) 상면에 차량(700)의 전, [0044] 후방향에 따라 형성된다. 이동판(210)은 제3 레일(230) 상을 왕복하며 제3 패널(300)이 회전할 수 있도록 안착한다. 고정홈(250)은 이동판(210) 상에 형성되고 회전 제한구(600)의 단부가 제3 패널(300)을 관통해 고정되도록 형성됐다.

 

제3 패널(300)은 전술한 바와 같이 제2 패널(200) 상에서 회전할 수 있게 장착된 것이다. [도면 3]과 같이 연통홀(310)과 제5 레일(350)을 포함하는 구조임을 파악할 수 있다. 제5 레일(350)은 제3 패널(300)의 저면에 형성되고 제2 패널(200) 상에서 왕복하는 이동판(210)의 상면에 원형으로 형성된 제4 레일(240)과 대응하는 형상이다. 제4 레일(240)에 맞물려 회전할 수 있도록 했다.

 

연통홀(310)은 제3 패널(300)에 관통되고 회전 제한구(600)의 단부가 제2 패널(200)에 고정되도록 형성된 것이다. 여기서 사다리 어셈블리(400)와 연통홀(310)은 제5 레일(350)이 형성하는 원의 안쪽에 배치되는 게 바람직하다.

 

▲ [도면 4] 본 발명의 주요부인 제3 패널에 장착된 사다리 어셈블리ㆍ지지대와 회전 제한구의 구조를 나타낸 사시도


 

부호의 설명

 

300... 제3 패널         400... 사다리 어셈블리

410... 지주                420... 제2 유체 실린더

430... 사다리            432... 세로대

434... 가로대            440... 인명구조 바스켓

500... 지지대            610... 고정 브라켓       

620... 고정대            630... 회전방지 볼트

 


 

 

 

 

 

 

사다리 어셈블리(400)는 전술한 바와 같이 제3 패널(300) 상에 장착돼 인명구조 활동이나 저층 건물의 화재 진압 용도로 사용되기 위한 것이다. [도면 4]와 같이 지주(410), 제2 유체 실린더(420), 사다리(430), 인명구조 바스켓(440)을 포함하는 구조임을 파악할 수 있다.

 

한 쌍의 지주(410)는 제3 패널(300) 상에 경사 회동할 수 있게 장착되는 것으로 후술할 사다리(430) 등의 하중을 지지하기 위해 설치됐다. 제2 유체 실린더(420)는 지주(410)의 상단부에 각각 장착돼 신축 가능하다. 지면이 경사지게 형성됐을 경우 한 쌍의 지주(410) 각각의 신축 정도를 달리해 사다리(430) 수평도를 맞출 수도 있다.

 

사다리(430)는 제2 유체 실린더(420) 상단부에 각각 결합해 길이 조절이 가능한 세로대(432)와 세로대(432)의 길이 방향을 따라 양단부가 상호 결합하는 복수의 가로대(434)로 이뤄졌다.

 

인명구조 바스켓(440)은 사다리(430)의 상단부에 탈착 결합하고 회동 가능하며 상부 측이 개방된 통 형상의 것이다. 구급대원과 구조인원이 탑승할 공간이 형성되고 이 하중을 견딜만한 구조여야 한다.

 

여기서 지지대(500)는 세로대(432)에 각각 회동할 수 있게 장착되고 회전 제한구(600) 상단부는 사다리(430) 하부 측에 탈착 결합하는 구조임을 알 수 있다.

 

이때 사다리 어셈블리(400)는 사다리(430)를 사용하지 않을 때 적재함(710)의 상측에 완전히 고정 수납된 상태로 배치할 수 있도록 제3 패널(300) 상에 지주(410)의 형상에 대응되도록 형성된다. 여기에 지주(410)를 수납하는 지주 수납틀(450)을 포함하는 게 바람직하다.

 

회전 제한구(600)는 앞서 말한 바와 같이 사다리 어셈블리(400)와 지지대(500)의 세팅이 완료되면 제3 패널(300)이 제2 패널(200)에 대해 회전하는 걸 방지하기 위해 설치됐다. [도면 4]와 같이 고정 브라켓(610)과 고정대(620), 회전방지 볼트(630)를 포함하는 구조다. 

 

즉 고정 브라켓(610)은 사다리 어셈블리(400)의 하부인 최하단의 가로대(434)에 탈착 결합한다. 고정대(620)에 고정 브라켓(610)이 구성돼 현장에서 저층용 사다리를 사용할 경우 고정대(620)가 적재함(710) 측으로 연장(전개)된다. 회전방지 볼트(630)는 제3 패널(300)의 볼트공(320)을 관통해 제2 패널(200)의 볼트홈(260)에 고정된다.

 

상기와 같은 실시 예에 따른 이 발명으로 건물 저층의 인명구조용 사다리 차량을 설치하는 과정에 관해 간단히 설명하면 다음과 같다. 작업자는 조작 패널(720)로써 제1, 2, 3 패널(100, 200, 300) 각각을 이동시켜 적절한 위치를 결정한 다음 지주 수납틀(450)로부터 지주(410)를 회동시켜 세우고 세로대(432)로부터 지지대(500)를 회동해 차량의 적재함(710) 상측에 고정한다.

 

이어 작업자는 제2 유체 실린더(420)를 조작해 지면의 경사도에 맞게 사다리(430)의 수평도를 맞추고 세로대(432)의 길이를 조작 패널(720)로써 적절히 신축시킨 후 회전 제한구(630)를 사다리(430)와 제3 패널(300)에 고정함으로써 화재진압이나 인명구조 활동을 준비한다. 

 

이처럼 발명은 화재 발생의 대부분을 차지하는 건물 저층에서 인명구조를 위해 쉽게 현장에 접근하도록 하고 신속하게 인명을 구조할 수 있도록 건물 저층의 인명구조용 사다리 차량을 제공하는 걸 기본 기술적 사상으로 하고 있음을 알 수 있다.

 

물론 이 발명의 기본적인 기술적 사상의 범주 내에서 업계 통상의 지식을 가진 분에게는 다른 많은 변형이나 응용이 가능할 것이다.

 

발명 활용 방법

이 발명은 현재 소방펌프차 상단에 구성되거나 저층용으로 전용 사다리차가 제작될 수 있다.

 

1. 화재 등 재난현장에 도착하면 건물 저층의 인명구조용 차량을 요구자가 위치하거나 진입하고자 하는 개구부 측에 주차한다.

 

2. 운전자는 신속하게 하차, 조작패널(720)을 조작해 유체 실린더(130) 동작에 따라 좌ㆍ우 방향으로 이동용 레일(110)을 움직여 재난현장 반대 측으로 위치시킨다.

 

3. 조작패널(720)을 조작해 이동용 레일을 동작에 따라 전ㆍ후방향으로 이용 하단의 회전판(210)을 요구조자 등이 있는 개구부 측에 위치시킨다.

 

4. 구조대원이 적재함(710)으로 올라가 손을 이용해 사다리(430)를 수직으로 기립시킨 후 회전판(210)을 이용해 요구자가 위치하거나 진입하고자 하는 방향으로 사다리를 회전시킨다.(사다리를 수직으로 기립하는 순간 자동으로 지지대(430)와 고정대(620)가 회전방지 볼트(630)에 의해 고정되므로 회전하지 않고 고정된다. 즉 중심을 잃지 않는다.) 

 

5. 사다리가 재난건물 방향으로 위치하면 사다리를 개구부 위치 상단까지 전개한 후 가로대(434)를 잡고 안전하게 등반한다.

 

6. 사다리를 등반, 인명구조용 바스켓(440)을 이용해 구조하는 등 안전하게 작업할 수 있다.

 

발명의 기대효과

상기와 같은 구성의 발명에 따르면 다음과 같은 효과를 도모할 수 있다.

 

우선 이 발명은 차량 적재함 좌ㆍ우 방향으로 이동하는 걸 허용하는 제1 패널 상의 제2 패널이 차량 전ㆍ후방향으로 왕복한다. 제3 패널이 제2 패널 상에서 회전하되 사다리 어셈블리가 제3 패널에 경사 회동이나 수납이 가능하고 지지대가 사다리 어셈블리를 받침 지지한다.

 

장착이 완료되면 회전 제한구가 제3 패널을 통해 제2 패널에 고정되는 구조를 채택함으로써 기존의 수동식 복식사다리에 비해 설치나 준비가 신속하고 간편하게 이뤄진다. 따라서 화재 발생의 대부분을 차지하는 건물 저층에서 현장 접근을 용이하게 하고 신속하게 인명을 구조할 수 있다.

 

이 발명은 평상시에는 주로 차량에 결합한 채로 사용되지만 협소한 공간이나 차량 진입이 불가능할 경우에는 분리해 기존의 수동식 복식사다리와 같이 사용할 수도 있다. 2인 1조로 이동해 설치하는 기존의 수동식 복식사다리에 비해 간단한 조작으로 세팅이 완료된다. 특히 경사지고 단단하지 못한 지면과 관계없이 차량의 적재함으로부터 설치되므로 설치 환경의 조건에 구애받지 않고 화재진압이나 인명구조 활동을 할 수 있다.

 

개발자의 바람

우리나라 소방차 규격서(KFI) 변경이 어려운 게 사실이다. 우리나라 소방관서뿐 아니라 해외에 수출해 국익을 창출하기 위해선 소방청 차원에서 저층용 사다리 차량 개발을 위한 소방차 규격서(KFI) 개정이 필요하다.

 

대한민국의 국익 창출 차원에서 그리고 선진 소방 이미지 구축을 위해서라도 소방청에서 이 발명인 저층용 사다리 차량 개발에 힘써 줬으면 하는 게 발명자로서의 심정이자 바람이다.

 

본 발명에 대한 궁금한 점은 <119플러스>로 연락 주시기 바랍니다.

  

경기 용인소방서_ 황선우

 

<본 내용은 소방 조직의 소통과 발전을 위해 베테랑 소방관 등 분야 전문가들이 함께 2019년 5월 창간한 신개념 소방전문 월간 매거진 ‘119플러스’ 2020년 4월 호에서도 만나볼 수 있습니다.>

소방관이 발명한 소방장비 관련기사목록
광고
[연속 기획]
[연속 기획- 화마를 물리치는 건축자재 ⑧] 내화채움구조 넘어 종합 방화솔루션 기업으로의 도약 꿈꾸는 아그니코리아(주)
1/5
광고
광고
광고
광고
광고
광고
광고
광고
광고
119플러스 많이 본 기사