광고
광고
광고
광고

[소방관이 발명한 소방장비] 김 서림(성에) 차단 및 감염방지용 마스크

열다섯 번째 이야기

광고
경기 화성소방서 황선우 | 기사입력 2021/02/23 [09:40]

[소방관이 발명한 소방장비] 김 서림(성에) 차단 및 감염방지용 마스크

열다섯 번째 이야기

경기 화성소방서 황선우 | 입력 : 2021/02/23 [09:40]

이번 호에서 소개할 발명은 김 서림 현상을 완화할 수 있으면서도 감염 방지를 위해 안전하게 착용ㆍ폐기할 수 있도록 하는 ‘김 서림(성에) 차단 및 감염방지용(일회용) 마스크’다. 

 

발명 배경 

구급대원들이 동절기에 야외에서 일회용 마스크를 착용하고 구급활동을 할 때 안경을 착용한 경우 안경에 김 서림이 심해 시야 확보가 곤란한 문제가 생긴다. 구급대원들은 주로 야외에서 활동하는 일이 많아 추운 실외에서 실내로 들어가거나 실내에서 기온이 낮은 실외로 나오게 되면 김 서림 현상은 더욱 심해진다. 

 

특히 구급대원들이 실내ㆍ외 기온 차가 극심한 동절기에 환자를 실내에서 실외로 또는 실외에서 실내로 이송할 때 김 서림으로 인해 자신의 발아래가 보이지 않거나 시야 확보가 어려워 넘어지는 등 안전사고로 이어질 우려가 있다.

 

또 일반적인 일회용 마스크는 착용할 때나 벗을 때 구급대원 손에 묻은 혈액이나 체액 등 오염원이 구급대원의 귀나 머리카락 등 신체에 묻게 돼 오염ㆍ감염될 우려가 다분하다.

 

이런 문제로 인해 동절기 김 서림 현상을 방지할 수 있으면서도 감염을 예방하고 안전하게 착용ㆍ폐기할 수 있도록 하는 ‘김 서림(성에) 차단 및 감염방지용 일회용 마스크’를 발명하게 됐다.

 

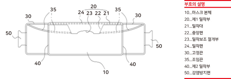
▲ [도면 1] 마스크의 전체적인 구조를 나타낸 정면 개념도

▲ [도면 2] 제1 밀착부(20) 구성을 상세하게 나타낸 그림

▲ [도면 3] 제1 밀착부(20)의 추가적인 구성을 상세하게 나타낸 그림

 

[도면 1]을 보면 마스크의 본체(10)로 착용자의 코와 코 주변의 얼굴 윤곽을 따라 밀착되는 제1 밀착부(20)와 마스크 본체의 양측으로부터 연장돼 착용자의 귀에 걸리는 고정끈(30), 착용자의 귀로부터 고정끈을 분리할 때 착용자의 손으로 쥘 수 있도록 고정끈에 구비되는 감염방지편(50)이 있다.

 

여기서 제1 밀착부(20)는 마스크 본체 가장자리를 따라 결합된 밀착대와 밀착대의 중앙으로부터 마스크 본체 측으로 연장된다. 착용자의 콧등에 밀착되는 중앙편과 중앙편의 가장자리에 밀착대측을 향해 원호 형상으로 절개 형성된 밀착보조 절개부(23)를 포함한다. 이때 본체는 제1 밀착부(20)의 양단부로부터 본체의 가장자리를 따라 연장 형성된다.

 

착용자의 얼굴에 밀착되는 띠 형상의 제2 밀착부와 제1 밀착부 양측으로부터 본체 내부를 통해 고정끈까지 연장되고 신축 가능한 조임끈으로 구성된다. 또 제1 밀착부는 밀착대의 형성 방향을 따라 밀착대에 내장되고 굴곡을 허용하는 금속 재질의 밀착편을 더 포함한다.

 

마스크 본체는 착용자(60)의 코(61)와 입(62) 주변을 감싸는 용도다. 착용자가 호흡하는 데 지장이 없고 착용 시 불쾌감이 없도록 면 등의 천연섬유나 부직포 또는 합성섬유 등으로 제작될 수 있다. 제1 밀착부는 본체 상측 가장자리를 따라 형성되고 착용자의 코와 코 주변의 얼굴 윤곽을 따라 밀착된다.

 

따라서 실리콘 등과 같이 착용자의 피부에 밀착될 수 있는 재질로 이뤄지는 게 바람직하다. 고정끈은 본체의 양측으로부터 연장돼 착용자의 귀(63)에 걸리는 형태다. 신축 가능한 탄성을 지닌 소재로 제작되는 게 바람직하다.

 

감염방지편은 착용자의 귀(63)로부터 고정끈을 분리할 때 착용자의 손으로 쥘 수 있도록 제1 고정끈에 갖춰진다.

 

제1 밀착부는 코 주변에 밀착돼 착용자의 호흡으로 인해 안경(70, 이하 [도면 4] 참고)에 김 서림 현상이 생기는 걸 방지하기 위해 구성됐다. [도면 2]와 같이 밀착대(21)의 중앙편(22)이 구비되고 중앙편에 밀착보조 절개부(23)가 형성된다.

 

밀착대는 본체의 상측 가장자리를 따라 결합된 띠 형상의 부재다. 착용자의 얼굴에 밀착될 수 있도록 실리콘 등과 같은 재질로 이뤄지는 게 바람직하다. 

 

중앙편은 밀착대 중앙으로부터 본체 측으로 연장되며 착용자의 콧등에 밀착된다. 밀착대와 동일한 재질로 구성된다. 밀착보조 절개부는 중앙편 가장자리에 밀착대 측을 향해 원호 형상으로 절개 형성된다. 착용자의 코, 즉 콧등의 윤곽을 따라 중앙편이 형상 변형을 허용하면서 밀착될 수 있도록 보조하는 역할을 한다.

 

또 제1 밀착부는 [도면 3]과 같이 밀착대 형성 방향을 따라 밀착대에 내장되고 굴곡을 허용하는 금속 재질의 밀착편(24)이 더 포함된다.

 

밀착편은 착용자의 얼굴 윤곽을 따라 밀착대가 밀착된 상태를 유지할 수 있도록 함으로써 동절기 구급대원과 같이 심한 동작을 수행하는 착용자(60)의 얼굴로부터 밀착대가 이격되는 걸 막아 김 서림 현상을 방지할 수 있다.

 

한편 본체는 제1 밀착부 양단부로부터 본체 가장자리를 따라 연장 형성되며 착용자의 얼굴에 밀착되는 띠 형상의 제2 밀착부(40)를 더 포함한다. 제2 밀착부는 착용자의 피부에 밀착되면서도 무해하고 불쾌감을 주지 않도록 제1 밀착부와 같이 실리콘 등의 재질로 이뤄진다.

 

또 본체는 제1 밀착부 양측으로부터 본체 내부를 통해 고정끈까지 연장되고 신축 가능한 조임끈(35)이 더 포함된다. 조임끈은 착용자의 귀 쪽을 향해 당김으로써 제1 밀착부, 즉 중앙편이 착용자의 얼굴 면에 밀착된 상태를 유지할 수 있도록 하는 역할을 하게 된다. 

 

따라서 위에 언급한 것과 같은 구성, 즉 제1 밀착부와 제2 밀착부, 조임끈에 의해 착용자의 얼굴에 본체가 밀착되도록 해 안경에 김 서림 현상을 방지할 수 있음은 물론 외부로부터 감염원이 착용자의 코 또는 입을 통해 침투하지 않도록 보호할 수도 있다.

 


사용법

우선 착용자는 [도면 4]와 같이 손(64)으로 감염방지편(50)을 쥐고 귀(63)를 향해 고정끈을 가져간다.

 

이후 고정끈이 [도면 5]와 같이 착용자(60)의 귀에 걸리면 착용자는 ① 방향으로 밀착편(24)을 코(61)와 코(61) 양측의 얼굴 윤곽에 맞게 형상을 변형 시켜 얼굴에 밀착시킨다.

 

착용자(60)는 ② 방향으로 중앙편과 연결된 조임끈(35)을 잡아당겨 착용자의 코에 밀착대와 중앙편이 밀착되게 한다. 이때 중앙편은 밀착보조 절개부의 라인을 따라 착용자의 코, 즉 콧등의 윤곽을 따라 밀착된다. 

 

따라서 밀착대(21)는 [도면 6]과 같이 착용자의 코에 밀착되며 이러한 밀착 상태는 밀착편에 의해 유지된다. 이후 착용자는 임무가 완료돼 본체를 얼굴로부터 분리하고자 할 때 귀 뒤의 감염방지편을 손으로 파지해 고정끈을 귀로부터 해제한 후 폐기하면 된다.

 

이상과 같이 본 발명은 동절기 김 서림 현상을 완화할 수 있으면서도 감염을 방지하고 안전하게 착용ㆍ폐기할 수 있도록 하는 감염방지를 위한 일회용 마스크를 제공하는 걸 기본적인 기술적 사상으로 하고 있다.

 

그리고 본 발명의 기본적인 기술적 사상의 범주 내에서 당해 업계 통상의 지식을 가진 자에게 있어선 다른 많은 변형이나 응용 또한 가능할 거다.

 

발명의 기대효과

상기와 같은 구성의 본 발명에 따르면 다음과 같은 효과를 도모할 수 있다.

 

우선 본체의 상측 가장자리에 구비된 제1 밀착부가 착용자의 코와 코 양측의 얼굴 윤곽을 따라 밀착되도록 함으로써 김 서림을 방지할 수 있다.

 

또 제1 밀착부를 구성하는 밀착대가 착용자의 얼굴 윤곽을 따라 밀착되고 중앙편이 착용자의 콧등에 밀착된다. 밀착보조 절개부는 자연스레 착용자의 콧등 형상을 따라 밀착되도록 함으로써 역할을 할 수 있게 된다. 

 

또 밀착대에 내장된 밀착편은 착용자의 얼굴 윤곽을 따라 밀착대가 밀착된 상태를 유지할 수 있도록 해 동절기 구급대원들과 같이 심한 동작을 수행하는 착용자의 얼굴로부터 이격되는 일이 없으므로 김 서림 방지가 확실하게 이뤄진다.

 

그리고 본체 양측으로부터 연장돼 착용자의 귀에 걸리는 고정끈에 감염방지편을 더 구비해 착용자가 감염방지편을 쥐고 착용 또는 분리해 폐기할 수 있다. 따라서 기존 일회용 마스크보다 귀나 머리카락 등에 혈액이나 체액 등으로 인해 오염되거나 감염되는 등의 사고를 방지할 수 있다.

 

특히 제1 밀착부로부터 고정끈까지 연장된 조임끈은 제1 밀착부를 더욱 착용자의 얼굴에 밀착되도록 하기 때문에 김 서림을 방지하고 밀착된 착용 상태를 유지할 수 있게 된다.

 

 

본 발명에 대한 궁금한 점은 <119플러스> 또는 경기도청 과학기술과로 문의하면 된다.

 

경기 화성소방서_ 황선우

 

<본 내용은 소방 조직의 소통과 발전을 위해 베테랑 소방관 등 분야 전문가들이 함께 2019년 5월 창간한 신개념 소방전문 월간 매거진 ‘119플러스’ 2021년 2월 호에서도 만나볼 수 있습니다.> 

소방관이 발명한 소방장비 관련기사목록
광고
[연속 기획]
[연속 기획- 화마를 물리치는 건축자재 ⑧] 내화채움구조 넘어 종합 방화솔루션 기업으로의 도약 꿈꾸는 아그니코리아(주)
1/5
광고
광고
광고
광고
광고
광고
광고
광고
광고
119플러스 많이 본 기사