광고
광고
광고
광고

[소방관이 발명한 소방장비] 측면으로 이동 가능한 환자 이동용 들것

열 번째 이야기

광고
경기 용인소방서 황선우 | 기사입력 2020/09/22 [15:50]

[소방관이 발명한 소방장비] 측면으로 이동 가능한 환자 이동용 들것

열 번째 이야기

경기 용인소방서 황선우 | 입력 : 2020/09/22 [15:50]

이번 호에 소개할 발명 소방장비는 ‘측면으로 이동 가능한 환자 이동용 들것’이다. 환자 이송 장치로 응급환자나 골절환자 등 거동이 불편한 환자를 2차 손상 위험 없이 안전하고 간편하게 이송(이동)시킬 수 있도록 고안됐다.

 

발명의 배경

감기와 같은 가벼운 질환을 앓는 환자는 거동에 불편함을 겪을 때가 드물지만 골절이나 출혈과 같은 외상 환자의 경우, 특히 교통사고와 같은 사고 환자는 본인의 몸조차 추스르지 못하는 때가 다반사다. 이런 환자들을 사고지점에서 병원 등과 같은 다른 장소로 옮길 땐 환자의 목이나 척추를 보호하기 위해 상당한 주의를 기울여야 한다.

 

따라서 환자를 이송할 땐 환자의 머리와 다리를 지지하는 것만으로는 부족하고 별도 인원이 환자의 허리를 받치거나 허리를 받칠 수 있는 보조장치를 이용해야 한다. 이로 인해 환자 이송 시 많은 인력이 필요하다. 인력이 부족한 상태에서 무리하게 환자를 옮기다 구급대원이나 간호사 등이 허리를 다치는 경우도 빈번하다.

 

뿐만 아니라 무리한 이송으로 인해 환자의 목이나 척추에 심각한 손상을 초래하는 경우도 종종 생긴다. 따라서 환자의 안전을 확보할 수 있으면서도 환자를 이송하는 구급대원 등의 작업 피로도를 경감시킬 수 있는 환자 이송 장치가 필요한 실정이다. 

 

이에 대한 해결방안으로 환자를 측면으로 이동할 수 있도록 환자 이송용 주 들것과 보조용 들것(분리형 들것 포함)을 발명하게 됐다.

 

이 발명품은 소방청에서 주관하는 제1회 국민안전 발명챌린지에서 동상으로 입상했다. 전라남도 직무발명으로 등록된 상태기도 하다.

 

발명의 내용

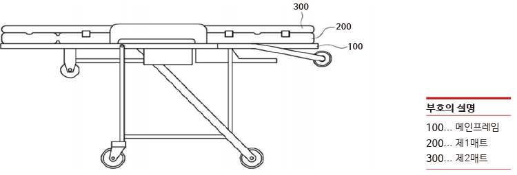
구급차 환자 이동용 주 들것과 병원 침대에 관련된 발명으로 ‘보조 들것과 분리형 들것’에 관한 발명이다. 메인프레임(100)은 메인프레임(100) 안쪽에 결합되고 상부에 다수의 롤러(210)가 회전할 수 있도록 형성된 제1매트(200)가 배치된다.

 

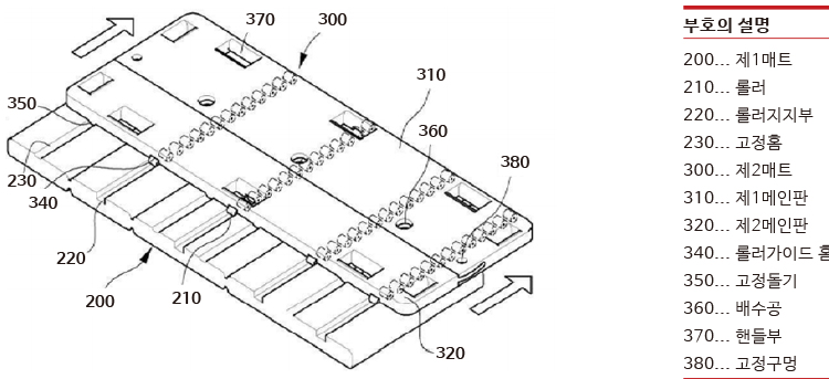
하부에는 상기 롤러(210)가 달릴 수 있는 롤러가이드 홈(340)이 갖춰져 있으며 좌우로 슬라이딩할 수 있는 제2매트(300)를 포함한다. 제2매트(300)는 서로 탈착 가능한 제1메인판(310)과 제2메인판(320)을 포함한다.

 

제1ㆍ2메인판 일측부는 서로 탈착이 가능한 결합부(330)를 포함한다. 결합부(330)는 제2메인판 일측부에 돌출 형성된 형태의 결합 돌기와 제1메인판 일측부에 형성돼 결합돌기가 끼워지는 결합홈으로 구성된다. 결합부에는 결합돌기와 결합홈을 관통하는 고정구멍(380)이 형성된다.

 

고정구멍의 일측면으로 고정쇠(400)의 암볼트(420)가 삽입되고 고정구멍의 반대측 면에 수볼트(410)가 삽입돼 체결된다. 제1매트(200)는 롤러(210) 하부에 배치되는 쐐기와 연동돼 롤러(210)의 높낮이를 조절하는 조절레버(260)가 포함되는 게 특징이다.

 

다시 말해 구급현장이나 병원 내에서 환자를 이동할 때 환자 이동용 주 들것이나 병원 침대 측면에서 보조 들것을 당겨 쉽게 이동할 수 있어 무리한 이송작업으로 발생하는 환자 2차 손상이나 이송자 부상 위험을 방지할 수 있다. 이송에 필요한 인력도 절감할 수 있다.

 

해결하려는 과제

다수의 롤러를 이용해 제1매트 상부에 배치된 제2매트(300)가 좌우로 슬라이딩함으로써 환자 이송에 필요한 힘을 줄일 수 있다. 무리한 이송에 따른 환자의 2차 손상이나 이송자의 부상 위험을 줄일 수 있는 환자 이송 장치다.

 

대표도(이해도)


구체적인 내용

첨부된 도면을 참고로 본 발명의 바람직한 실시 예에 대해 더욱 상세히 설명하고자 한다.

 

▲ [도면 1] 환자 이송 장치 측면도

▲ [도면 2] 환자 이송 장치가 의자 형태로 변형된 상태를 나타내는 측면도

 

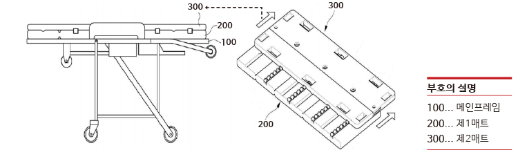
[도면 1]을 참조하면 환자 이송 장치는 메인프레임(100)과 제1매트(200), 제2매트(300)를 포함한다.

 

메인프레임은 사각 틀 형상으로 제1매트를 받칠 수 있다. 하단부에 환자 이송 장치 이동을 위한 바퀴 등과 같은 이동 부재 포함이 가능하다. 또한 [도면 2]처럼 등받이 프레임(110)과 시트 프레임(120), 레그 프레임(130)을 포함한다. 등받이 프레임(110)과 시트 프레임(120), 레그 프레임(130)은 차례대로 상호 인지 결합해 침대 형태에서 의자 형태로 상호 변형될 수도 있다. 

 

제1매트(200)는 메인프레임 안쪽에 결합해 환자 이송 장치에 실린 환자를 직접 지지하거나 환자가 실린 제2매트(300)를 지지하는 역할을 한다. 나중에 언급할 제2매트(200)가 제1매트(100) 위에서 원활하게 좌우로 슬라이딩 할 수 있도록 제1매트(200) 상부에는 다수의 롤러(210)가 회전할 수 있도록 설치된다.

 

▲ [도면 3] 제1매트 사시도

 

구체적으로 [도면 3]처럼 제1매트(200) 상부에는 오목형의 롤러지지부(220)가 세로 방향으로 형성된다. 롤러지지부(220) 안쪽에는 다수의 롤러(210)가 회전 가능하며 상부로 돌출되도록 결합된다. 이 롤러(210)는 제2매트(300)와 환자의 무게를 적절히 분산시켜 제1매트(200) 위에서 제2매트(300)의 좌우 슬라이딩이 원활할 수 있도록 제1매트(200) 상부에 고르게 분포하는 게 바람직하다 본다.

 

[도면 2]와 같이 제1매트(200)는 메인프레임이 의자 형태로 변환된 경우에도 환자의 두부(頭部)와 상ㆍ하체를 각각 개별적으로 지지할 수 있도록 2~4개로 분할된 구조가 바람직하다.

 

▲ [도면 4] 쿠션부를 포함하는 제1매트의 사시도

 

제1매트(200)는 [도면 4]와 같이 제1매트(200) 상부에 배치되는 쿠션부(250)와 조절레버(260)를 더 포함할 수 있다. 쿠션부(250)는 제1매트(200) 위에 눕는 환자에게 편안함을 부여하기 위한 장치다. 메모리폼이나 라텍스, 스펀지 등을 이용할 수 있다. 조절레버(260)는 롤러(210)의 높낮이를 조절하기 위한 것으로 제1매트(200) 측면에 형성되는 게 바람직하다. 

 

▲ [도면 5] 제1매트의 단면도

 

[도면 5](a)와 같이 평상시에는 롤러(210)가 쿠션부(250) 위로 돌출되지 않아 환자 등이 불편감 없이 제1매트(200)에 누울 수 있다. 제1매트(200)와 제2매트(300)를 결합해 사용하는 경우에는 [도면 5](b)와 같이 조절레버(260)를 당겨 롤러(210)가 쿠션부(250) 위로 돌출되도록 롤러(210) 높이를 조절할 수 있다.

 

이처럼 롤러(210)의 높이를 조절하기 위해 조절레버(260)는 롤러(210) 하부에 배치되는 쐐기와 연동될 수 있다. 조절레버(260)를 밀거나 당겨 쐐기 위치가 조절된다. 쐐기가 조절레버(260)로 조절돼 롤러(210) 바로 밑으로 올 때 롤러(210)는 쐐기에 의해 올라갈 수 있다.

 

제2매트(300)는 상기 제1매트(200)의 상부에 배치돼 환자 이송 장치에 실린 환자를 직접 지지하는 역할을 한다. 

 

▲ [도면 6] 제2매트 사시도


[도면 6]과 같이 제2매트(300) 하부에는 제1매트(200) 롤러(210)가 달릴 수 있는 롤러가이드 홈(340)이 세로 방향으로 구비됐다. 제1매트(200) 롤러(210)가 제2매트(300) 롤러가이드 홈(340)에 들어가도록 제2매트(300)가 제1매트(200) 상부에 배치될 수 있다.

 

▲ [도면 7] 제1ㆍ2매트가 결합한 상태를 보여주는 사시도

▲ [도면 8] 제2매트가 슬라이딩하는 모습을 보여주는 사시도

 

[도면 7]은 제1매트(200) 롤러(210)가 제2매트(300) 롤러가이드 홈(340)에 들어가도록 제2매트(300)가 제1매트(200) 상부에 배치된 모습을 나타냈다. 이처럼 배치된 경우 [도면 8]처럼 보다 적은 힘으로도 제2매트(300)를 좌우 슬라이딩시켜 제1매트(200)와 분리할 수 있다.

 

따라서 이 장치를 이용하면 구급대원 등이 환자를 다른 장소로 옮길 때 수직 방향으로 환자를 들어 올리지 않고도 손쉽게 제2매트(300)를 좌우로 슬라이딩시켜 옮길 수 있다. 큰 힘을 들이지 않고 적은 인력으로도 환자 이송이 가능하다.

 

▲ [도면 9] 제2매트가 분리되는 상태를 보여주는 사시도


이같이 제2매트(300)가 한 쌍의 메인판으로 이뤄져 서로 탈착이 가능한 경우 [도면 9]와 같이 직접 환자 신체 전부를 수직방향으로 들어 올리지 않아도 된다. 현재의 분리형 들것과 사용방법은 같다. 하지만 분리형 들것 하단부에 측면으로 이동할 수 있도록 롤러가 구성돼 있다는 게 가장 큰 차이점이다.

 

구급현장에서 환자를 구급차의 주들것(제1매트)으로 옮길 때나 병원 응급실에 도착해 환자를 병원 침대 등으로 옮길 때 병원 침대의 측면(침대 반대편)에서 당겨서 환자를 손쉽게 옮길 수 있다. 이는 이송자의 허리부상 예방 등 피로도를 경감시킬 수 있을 뿐 아니라 환자의 움직임을 최소화해 추가적인 2차 손상이나 낙상사고로부터 보호할 수 있다.

 

▲ [도면 10] 제2매트 측면도

 

이러한 결합부(330)의 결합돌기는 [도면 10]과 같이 아래로 휘어진 형태다. 결합홈은 휘어진 결합돌기가 끼워지는 형태가 바람직하다. 아래로 휘어진 형태의 결합부를 이용하는 경우 환자 하중을 받아 결합이 더욱 견고해진다.

 

제2매트(300)는 매트를 관통하는 하나 이상의 배수공(360)을 더 포함할 수 있다. 이러한 배수공(360)은 환자의 혈액이나 오물 등을 배출하기 위해 설치된다. 제2매트(300) 중심부에 형성될 수 있다. [도면 6]과 같이 원기둥 형태일 수 있으나 반드시 이에 한정되는 건 아니다.

 

핸들부(370)를 더 포함할 수도 있다. 핸들부(370)는 제2매트(300)와 이에 배치된 환자를 이동시킬 때 이동 편의성이나 환자 안정성을 향상하는 역할을 한다. 환자를 이송하는 이송자의 손에 의해 쥐어질 수 있도록 제2매트(300)의 외주에 형성되는 게 바람직하다.

 

제2매트(300) 재질은 가벼우면서도 환자의 체중을 지지할 수 있도록 알루미늄, 마그네슘, 타이타늄 등과 같은 경량금속이거나 경화 플라스틱 또는 섬유 강화플라스틱(FRP, fiber-reinforced plastic)일 수 있다.

 

[도면 3]과 [도면 6]을 보면 제1매트(200) 상부에는 오목한 형태의 고정홈(230)이 형성된다. 제2매트(300) 하부에는 고정홈(230)에 끼워지는 볼록한 형태의 고정돌기(350)가 형성될 수 있다. [도면 7]과 같이 제1매트(200) 상부에 제2매트(300)가 배치될 때 제2매트(300) 고정돌기(350)가 제1매트(200) 고정홈(230)에 끼워지게 된다. 따라서 제2매트(300) 전후좌우 쏠림을 방지할 수 있어 환자 이송 시보다 안전할 뿐 아니라 흔들림에 의해 환자가 받는 고통을 경감시킬 수 있다.

 

▲ [도면 11] 제2매트가 고정쇠에 의해 고정된 모습을 보여주는 단면도

▲ [도면 12] 고정쇠 사시도

 

환자 이송 장치는 제2매트(300)의 제1메인판(310)과 제2메인판(320)의 이탈을 방지하고 제1매트(200)와 제2매트(300)의 결합을 강화하기 위해 고정쇠(400)를 더 포함할 수 있다. [도면 12](a)와 같이 고정쇠(400)는 육각머리를 가진 수볼트(410)와 암볼트(420)로 서로 체결될 수 있다.

 

[도면 6]과 [도면 11]을 참조하면 제2매트(300)의 제1메인판(310)과 제2메인판(320)이 결합부(330)를 통해 결합한 경우 결합부(330)의 결합돌기와 결합홈을 관통하는 고정구멍(380)이 형성된다. 고정구멍(380)의 일측면 고정쇠(400)의 암볼트(420)가 삽입되고 고정구멍(380)의 반대측 면에 수볼트(410)가 삽입돼 암볼트(420)와 체결됨으로써 제1메인판(310)과 제2메인판(320)의 이탈을 방지할 수 있다.

 

수볼트(410)와 암볼트(420)를 더욱 단단하게 체결하기 위해 드라이버 등과 같은 공구를 사용할 수 있다. 이 경우 수볼트(410) 머리 부분에 형성된 조임홈에 드라이버를 체결해 수볼트(410)를 회전시켜 암볼트(420)와 수볼트(410)를 단단하게 결합할 수 있다. 

 

그뿐만 아니라 환자를 침대 등에 내려놓기 위해 제1메인판(310)과 제2메인판(320)을 분리해도 드라이버 등으로 수볼트(410)를 회전시켜 보다 간편하게 암볼트(420)와 수볼트(410)를 분리할 수 있다.

 

이러한 드라이버 등의 공구 보관을 위해 본 발명의 제2매트(300)는 [도면 11]과 같이 제2매트(300) 측면에 형성된 공구 수납부(390)를 포함하고 있다. 이러한 공구 수납부(390)에 드라이버 등과 같은 공구를 수납하면 긴급한 상황에서도 손쉽게 공구로 수볼트(410)와 암볼트(420)를 체결하거나 분리해 더욱 신속하게 환자를 이송할 수 있다.

 

또 고정쇠(400) 수볼트 머리는 [도면 12](c)와 같이 손잡이(440) 형태일 수 있다. 이같이 수볼트 머리가 손잡이(440) 형태인 경우 별도의 공구 없이도 맨손으로 손쉽게 수볼트를 회전시킬 수 있다.

 

[도면 3]과 같이 제1매트(200) 상부에는 고정쇠(400) 머리 부분이 삽입될 수 있는 고정쇠홈(240)이 형성될 수 있다. 고정쇠가(400)가 삽입된 상태의 제2매트(300)가 제1매트(200) 상부에 배치되는 경우 고정쇠(400)의 돌출된 머리 부분이 상기 고정쇠홈(240)에 삽입된다. 이로써 제1매트(200)와 제2매트(300) 결합을 더욱 견고하게 해 환자 이송 시 제2매트의 전후좌우 쏠림을 방지할 수 있다.

 

고정쇠(400)는 육각형의 암수체결 볼트 형태뿐 아니라 [도면 12](b)와 같이 일단에 고정핀(430)이 힌지 결합한 볼트 형태일 수 있다. 이같이 고정핀(430)이 힌지 결합한 볼트 형태 고정쇠(400)의 경우 고정구멍(380)에 고정쇠(400)를 삽입한 후 고정핀(430)을 회전시켜 세로 방향으로 놓이게 해 고정쇠(400) 이탈을 방지할 수 있다.

 

▲ [도면 13] 제1ㆍ2매트 사시도

 

[도면 13]과 같이 제1매트(200)에 롤러가이드 홈이, 제2매트(300)에 롤러가 갖춰져 제1매트(200) 롤러가이드 홈에 제2매트(300) 롤러가 들어가도록 배치될 수도 있다. 제2매트(300)는 [도면 6]과 같이 서로 탈착 가능한 한 쌍의 메인판과 메인판 일측부에 형성된다. 한 쌍의 메인판을 서로 탈착할 수 있게 결합시키는 결합부(330)를 포함할 수 있다.

 

한 쌍의 메인판은 서로 대칭을 이루며 제1메인판(310)과 제2메인판(320)으로 구성된다. 제1메인판(310) 일측부에 형성돼 결합돌기가 끼워지는 결합홈과 제2메인판(320) 일측부에 도출된 결합돌기인 결합부(330)를 이용해 서로 탈착이 가능하다.

 

발명 활용 방법

이 발명은 119구급차뿐 아니라 각종 병원이나 요양원, 보건소, 군부대 등에서 거동이 어렵거나 통증으로 고통받는 환자에게 활용될 수 있다. 분리형 들것 등 보조 들것에서 주 들것으로, 또는 침대에서 침대로 옮길 때 사용하는 구급장비다.

1. 구급대원이 구급현장에서 주 들것으로 환자를 옮길 때

1) 고통스러워하는 환자나 움직임을 최소화해야 하는 환자를 본 발명인 보조 들것(분리형 들것 포함) 위에 조심스럽게 올린다.

 

2) 구급대원 1~2명이 구급 주 들것 측면에서 보조 들것(분리형 들것 포함)을 당겨 이동시킨다.

 

3) 구급 주 들것 위로 보조 들것(분리형 들것 포함)이 옮겨지면 구급 주 들것 양측면의 안전바를 올려 환자가 이탈되지 않도록 한다.

 

4) 병원 응급실에 도착하면 병원 침대 측면에 구급 주 들것을 나란히 한 후 병원 침대 측면에서 구급대원 1명이 보조 들것 손잡이를 잡고 조심스럽게 당긴다.

 

5) 보조 들것이 병원 침대 위로 옮겨지면 양측에서 분리해서 환자를 병원 침대로 이동시킨다.

 

6) 환자가 병원 침대에서 이탈되지 않도록 안전바를 올린다(철수ㆍ귀대).

 

2. 병원 침대에서 침대로 환자를 옮길 때

1) 병원이나 요양원에서 움직임을 최소화해야 하는 환자를 보조 들것(분리형 들것 포함) 위에 조심스럽게 올린다.

 

2) 간호사 등 관계인이 환자를 옮겨야 하는 병원 침대 측면에서 보조 들것(분리형 들것 포함)을 당겨 환자를 이동시킨다.  

 

3) 환자가 병원 침대로 옮겨지면 보조 들것(분리형 들것 포함)을 분리해 제거한다.

 

4) 환자가 병원 침대에서 이탈되지 않도록 안전바를 올린다.

 

발명의 기대효과

이 발명의 환자 이송 장비를 사용하면 골절환자, 척추손상환자 등의 외상환자를 2차 손상이나 이송자의 부상 위험을 방지할 수 있다. 특히 고통스러워하는 환자의 고통을 줄여주면서 구급차의 주 들것 또는 침대로 옮길 수 있다. 따라서 더욱 안전한 환자 이송이 가능해진다. 

 

또 환자를 주 들것이나 병원 침대 측면에서 대원 1명이 적은 힘으로도 쉽게 옮길 수 있다. 따라서 구급대원이 환자를 들어 올리지 않아도 되기 때문에 허리나 손목 부상을 예방할 수 있다. 이 발명은 환자 이송이 필요한 각종 병원이나 요양원, 보건소, 군부대 등에서 활용할 수 있다.

 

본 발명에 대한 궁금한 점은 <119플러스>로 연락 주시기 바랍니다.

 

경기 용인소방서_ 황선우

 

<본 내용은 소방 조직의 소통과 발전을 위해 베테랑 소방관 등 분야 전문가들이 함께 2019년 5월 창간한 신개념 소방전문 월간 매거진 ‘119플러스’ 2020년 9월 호에서도 만나볼 수 있습니다.> 

소방관이 발명한 소방장비 관련기사목록
광고
[연속 기획]
[연속 기획- 화마를 물리치는 건축자재 ⑧] 내화채움구조 넘어 종합 방화솔루션 기업으로의 도약 꿈꾸는 아그니코리아(주)
1/5
광고
광고
광고
광고
광고
광고
광고
광고
광고
119플러스 많이 본 기사