광고
광고
광고
광고

[소방관이 발명한 소방장비] 다기능 소화전 렌치

열여덟 번째 이야기

광고
경기 화성소방서 황선우 | 기사입력 2021/05/20 [10:00]

[소방관이 발명한 소방장비] 다기능 소화전 렌치

열여덟 번째 이야기

경기 화성소방서 황선우 | 입력 : 2021/05/20 [10:00]

이번 호에서 소개할 발명은 작업의 편의를 도모하고 다양한 작업 환경에서 즉각적인 대처가 가능하도록 하기 위한 ‘다기능 소화전 렌치’다.

 

발명 배경

지상식 소화전 보호캡이나 지하식 소화전 보호캡 등을 개폐할 때, 스탠드파이프에 연결할 수관의 커플링을 죄거나 풀 때, 소화전 또는 제수변의 뚜껑을 개폐할 때 사용하는 장비는 실로 다양하다.

 

▲ [그림 1] 소방현장에서 사용되는 다양한 형태의 소화전 개폐기들

 

[그림 1]과 같이 기존의 소화전 개폐기는 렌치를 쥐고 회전시키는 데 상당한 힘이 있어야 했다. 무리하게 힘을 줘 렌치를 회전시키다가 작업자의 손이 소화전 보호틀 등에 부딪혀 다치는 일도 빈번하다.

 

특히 소화전 보호틀은 소화전 개폐기와 거의 같은 높이에 설치되거나 소화전 개폐기보다 더 높게 설치돼 있어 소화전의 스팬들 키에 소화전 개폐기가 결합되지 않는 소화전이 생각보다 많다.

 

이런 문제 해결을 위해 높이를 조절할 수 있는 기능으로 모든 소화전을 개폐할 수 있는 일명 ‘다기능 소화전 렌치’를 개발하게 됐다.

 

발명의 이해(고안을 실시하기 위한 구체적인 내용)

첨부된 도면을 참고로 바람직한 실시 예에 관해 설명하면 아래와 같다.

 

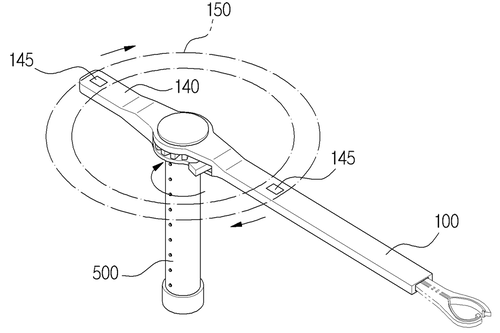
▲ [도면 1] 다기능 소화전 렌치의 전체적인 구조를 나타낸 사시 개념도


본 발명은 일정한 길이 방향을 따라 일정한 간격으로 사각 형상의 조절홈이 복수로 함몰 형성된다. 레버의 일단부에 구비돼 회전하는 래칫 휠과 회전 방향을 제어 가능할 수 있도록 래칫 스토퍼가 구비돼 래칫 휠의 중심부를 관통하는 래칫 박스가 구성된다.

 

▲ [도면 2] 다기능 소화전 렌치의 전체적인 구조를 나타낸 사시도


또 래칫 박스에 탈착 결합돼 높낮이 조절이 되도록 길이 방향을 따라 복수의 볼 베어링이 결합된다. 연결 렌치는 단부에 사각홈이 형성된 연결박스가 구비된다.

 

상단부는 조절홈에 탈착 결합되고 하단부에는 방향성 캐스터가 결합된다. 높낮이가 조절되도록 신축하는 레버 받침대와 이 레버의 타단부에 함몰 형성되는 수용홈에 손잡이부가 내장된다. 소방호스의 연결 금구를 조이기 위해 적어도 하나 이상의 조임부를 구비한 조임 키를 포함하는 게 특징이다.

 

발명의 내용

[도면 1]은 본 발명의 일 실시 예에 따른 다기능 소화전 렌치의 전체적인 구조를 나타낸 사시 개념도다. 이 발명은 레버(100)의 일단부에 래칫 휠(200)과 래칫 스토퍼(300), 래칫 박스(400)가 구비된다.

 

래칫 박스에 연결 렌치(500)가 탈착 결합되며 레버 받침대(600)는 레버에 탈착 결합돼 받침을 지지한다. 조임 키(700)는 레버의 타단부에 탈착 결합하는 구조다. 

 

레버는 일정한 길이를 갖는다. 길이 방향을 따라 일정 간격으로 사각 형상의 조절홈이 복수로 함몰 형성되고 조절홈(110)은 나중에 논할 레버 받침대의 적절한 결합 위치를 조정할 수 있도록 형성된다.

 

래칫 휠은 레버의 일단부에 구비돼 회전한다. 래칫 스토퍼는 래칫 휠의 회전 방향을 제어 가능하게 레버의 일단부에 회동 결합한다. 이 래칫 박스는 레버의 일단부에 구비돼 래칫 휠의 중심부를 관통한다.

 

연결 렌치는 래칫 박스에 탈착 결합돼 높낮이 조절이 가능하도록 길이 방향을 따라 복수의 볼 볼베어링(510)이 결합된다. 단부에는 사각홈(522)이 형성된 연결 박스(520)가 구비된다.

 

따라서 래칫 스토퍼는 래칫 휠의 회전 방향을 시계 방향 또는 반시계 방향으로 제한하면서 연결 렌치가 래칫 박스와 함께 일절 회전하지 않는다. 고정된 상태에서 소화전 보호캡 등과 같은 개폐 대상물 연결 박스에 사각홈을 끼우고 결합해 개폐 작업을 수행할 수 있게 된다.

 

레버 받침대의 상단부는 조절홈에 탈착 결합되고 하단부에는 방향성 캐스터(601)가 결합되며 높낮이 조절이 가능하게 한다. 이는 중량물인 레버를 받쳐 지지하면서 작업자가 적은 힘으로도 레버를 쥐고 회전시켜 작업을 편하게 할 수 있도록 하기 위함이다.

 

조임 키는 레버의 타단부에 함몰 형성되는 수용홈(120)에 손잡이부(702)가 내장된다. 소방호스의 연결 금구를 조이기 위한 조임부(701)를 갖춘 적어도 하나 이상의 부재다.

 

이 발명은 상기와 같은 구성의 실시 예를 적용할 수 있으며 다음과 같은 다양한 실시 예 적용 또한 가능함은 물론이다. 레버는 도시된 바와 같이 수용홈의 저면에 근접한 레버 내부에 영구자석(130)이 내장돼 수용홈에 수용된 조임 키가 이탈되는 걸 방지할 수 있게 된다.

 

발명 활용 방법

소화전 보호틀이 소화전 스팬들키와 같은 위치에 설치되거나 더 높게 설치돼 있을 때 다기능 소화전 렌치를 아래와 같은 방법으로 활용하면 된다.

 

첫째, 지상식 소화전의 방수구에 소방호스를 결합한다.

 

둘째, 연결 렌치를 높이 조절한 후 소화전 스팬들키에 꽂는다. 

 

셋째, 레버의 조임 키를 꺼내 소화전의 방수구를 연다.

 

넷째, 래칫 스토퍼를 좌측으로 전환한다.

 

다섯째, 레버를 좌측으로 돌려 소화전을 개폐한다(이 경우 래칫 휠이 고정되고 래칫 스토퍼가 반복적으로 회전한다).

 

여섯째, 레버를 반복해서 좌ㆍ우로 조작하면 소화전의 스팬들키가 개방돼 소방용수가 방수구를 통해 출수 된다.

 

일곱 번째, 소화전 점검이나 화재진압이 완료되면 역순으로 철수하면 된다.

 

발명의 기대효과

본 발명에 따르면 다음과 같은 효과를 도모할 수 있다.

 

우선 중심부에 연결 렌치가 탈착 결합되는 래칫 박스가 관통된 래칫 휠과 래칫 스토퍼를 구비한 레버에 탈착 결합되는 레버 받침대를 이용해 중량물인 레버를 받쳐 지지하면서 작업을 수행할 수 있다. 따라서 작업 편의를 제공할 수 있게 된다.

 

또 레버의 조임 키를 수납해 사용할 수 있으므로 다양한 종류의 작업 환경에 즉각적인 대응이 가능하게 된다. 레버에 탈착 결합이 가능한 부상 방지용 커버 바를 갖춰 작업할 때 발생할 수 있는 소방대원의 손 부상을  미연에 방지할 수 있어 안전도 최우선으로 고려할 수 있다.

 

 

본 발명에 대한 궁금한 점은 <119플러스>로 문의하면 된다.

 

경기 화성소방서_ 황선우 : hsw0914@korea.kr

 

<본 내용은 소방 조직의 소통과 발전을 위해 베테랑 소방관 등 분야 전문가들이 함께 2019년 5월 창간한 신개념 소방전문 월간 매거진 ‘119플러스’ 2021년 5월 호에서도 만나볼 수 있습니다.> 

소방관이 발명한 소방장비 관련기사목록
광고
[연속 기획]
[연속 기획- 화마를 물리치는 건축자재 ⑧] 내화채움구조 넘어 종합 방화솔루션 기업으로의 도약 꿈꾸는 아그니코리아(주)
1/5
광고
광고
광고
광고
광고
광고
광고
광고
광고
119플러스 많이 본 기사