광고
광고
광고
광고

[소방관이 개발한 소방장비] 원거리에서 원격으로 소방용수의 압력을 조절할 수 있는 소방차와 옥내소화전

여덟 번째 이야기

광고
경기 용인소방서 황선우 | 기사입력 2020/07/20 [10:00]

[소방관이 개발한 소방장비] 원거리에서 원격으로 소방용수의 압력을 조절할 수 있는 소방차와 옥내소화전

여덟 번째 이야기

경기 용인소방서 황선우 | 입력 : 2020/07/20 [10:00]

이번 호에 소개할 발명은 원격으로 소방용수의 압력조절 기능을 갖는 소방차와 옥내소화전이다. 운전원의 조작에 의존하지 않고 화재진압대원이 스스로 방수압력을 조절할 수 있다는 장점이 있다.

 

발명의 배경

보통 소방관이 현장에 출동해 화재를 진압할 때 관창수는 소방펌프차량을 조작하는 작업자에게 무전기 등으로 방수압력을 올리거나 내리라는 정보를 주고 받으면서 적절한 방수압력을 제공받는다.

 

중불 이상의 화재에는 여러 소방관서에서 출동하는데 무전기 통신이 서로 혼선돼 무전을 통한 정보 전달이 쉽지 않을 때도 있다. 이는 결국 원활하고 효과적인 화재진압에 장애로 작용한다.

 

게다가 관창수가 제대로 방수 준비가 되지 않은 상태에서 소방펌프차량 조작 작업자가 소방용수를 내보내면 과도한 순간 압력에 의한 방수 반동으로 넘어지거나 잡고 있는 관창을 놓칠 수 있다. 이런 상황은 안전사고로 이어지기도 한다.

 

옥내소화전인 경우 옥내소화전의 문을 연 후 방수 밸브를 열면 소방호스에 금세 소방용수가 가득찬다. 따라서 소방호스의 압력 때문에 소아나 노인, 여성들이 소방호스를 전개하기엔 무리가 따른다. 결국 초기 소화 시간을 지체하거나 불가능하게 만드는 요인이 된다. 

 

위와 같은 문제점을 해결하기 위해 고안된 게 바로 ‘원거리에서 원격으로 소방용수의 압력을 조절할 수 있는 소방용 무선 관창이 구비된 소방차와 옥내소화전’이다. 

 

해결 과제와 수단

이번 발명은 소방펌프차와 옥내소화전 관창에 구성된 무선 조작 버튼을 조작해 원거리에서 화재진압대원 스스로 자신의 체력에 맞도록 방수압력과 방수량을 조절할 수 있도록 하기 위해 진행됐다.

 

옥내소화전함 또는 소방펌프차의 무선 수신부와 전기적으로 연결되는 전기 모터가 개폐 동작하며 소방용수를 옥내소화전함이나 소방펌프차량의 소방호스를 통해 관창에서 분사할 수 있도록 유로를 개폐하는 앵글밸브를 포함하는 용수 공급 장치다. 옥내소화전함이나 소방펌프차량과 연결된 소방호스의 관창에 탈착 결합된다.

 

무선 수신부와 무선 통신하며 용수 공급 장치에 소방용수를 공급하거나 중단하는 등 소방용수 분사 압력을 제어하는 무선 송신부를 포함하는 게 특징이다. 소방용수 압력조절 장치를 제공할 수 있다.

 

여기서 무선 송신부는 소방용 관창에 탈착 결합되는 케이싱에 내장되고 무선 수신부와 무선통신하는 송신부를 포함한다. 또 케이싱에 내장되고 송신부로 전기 모터 가동을 제어해 소방호스로 공급하는 소방용수의 분사 압력을 조절하는 조작 버튼도 포함한다.

 

이때 무선 송신부는 케이싱과 연결되고 내부에 소방호스ㆍ관창과 연결되는 내부 유로를 형성하는 연결구를 더 포함한다. 연결구 양단부는 소방호스ㆍ관창에 각각 탈착 결합돼 상호 연통한다.

 

또 무선 송신부는 케이싱과 연결되고 상기 소방용 관창의 외주면에 장착되는 밴드 형상의 패스너를 더 포함하는 게 특징이다.

 

발명 내용

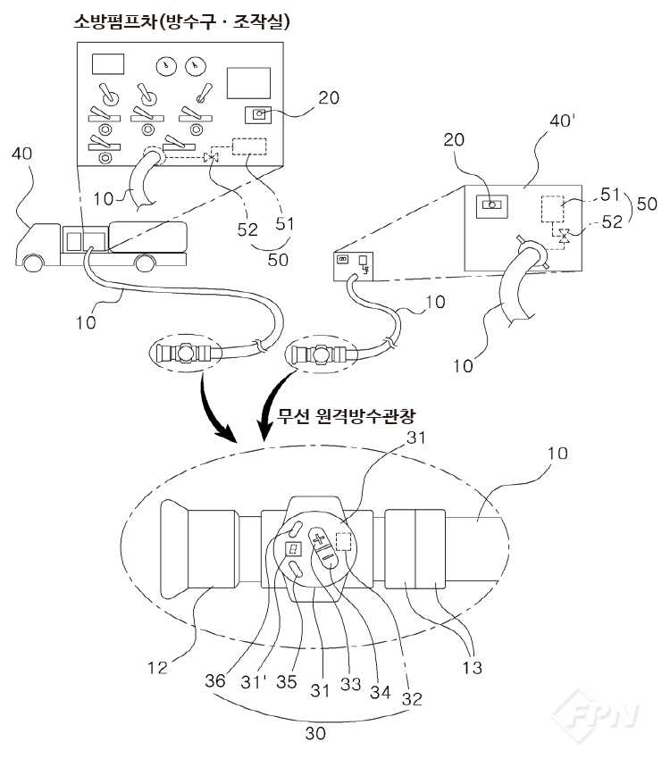
※ 부호의 설명

10...소방호스     12...소방용 관창     20...무선 수신부     30...무선 송신부   

31...케이싱         32...송신부             33, 34, 35, 36...조작 버튼    

40...방수구 측 조작판넬        50... 원격 무선수신기ㆍ방수제어용 컨트롤러  

[도면 1] 소방용수 압력조절 장치의 전체적인 구성을 나타낸 개념도(대표도)     

 

본 고안은 도시된 바와 같이 무선 수신부(20)와 무선 송신부(30)가 상호 원격 통신으로 연결돼 용수 공급 장치(50)에 의해 소방호스(10)로 소방용수가 분사되도록 하는 구조다.

 

무선 수신부(20)는 옥내소화전함(40') 또는 소방펌프차량(40)에 구비된 것으로 무선 송신부(30)로부터 명령을 전달받아 나중에 얘기할 용수 공급 장치(50)에 가동 신호를 전달하기 위함이다.

 

용수 공급 장치(50)는 무선 수신부(20)와 전기적으로 연결되는 전기 모터(51)에 연결돼 개폐 동작한다. 소방용수를 옥내소화전함(40') 또는 소방펌프차량(40)의 소방호스(10)를 통해 소방용 무선관창(12)으로부터 분사시키도록 유로를 개폐하는 앵글밸브(52)를 포함한다.

 

무선 송신부(30)는 옥내소화전함(40') 또는 소방펌프차량(40)과 연결된 소방호스(10)의 소방용 관창(12)에 탈착 결합된다. 무선 수신부(20)와 무선 통신하며 용수 공급 장치(50)에 소방용수를 공급 또는 중단시키거나 소방용수의 분사 압력을 제어한다.

 

따라서 소방용 관창(12)에서 옥내소화전함(40') 또는 소방펌프차량(40)의 무선 수신부(20)와 직접 무선 통신으로 조작할 수 있는 무선 송신부(30)를 조작해 용수 공급 장치(50)에 의해 적절한 분사 압력으로 소방용수가 분사되게 함으로써 남녀노소 누구라도 체력과 숙련도에 관계없이 초기 진화할 수 있게 된다.

 

※ 부호의 설명

31...케이싱(무선 송ㆍ수신부) 33...상압조절 버튼 34...하압조절 버튼  35, 36...조작 버튼

[도면 2] 소방용수 압력조절 장치의 주요부인 무선송신부의 구조를 나타낸 개념도

 

위와 같은 실시 예 적용은 물론이고 다음과 같은 다양한 실시 예의 적용도 가능하다. 무선 송신부(30)는 앞서 얘기했듯이 무선 수신부(20)를 통해 용수 공급 장치(50)의 가동 신호를 전달, 적절한 압력으로 소방용수가 소방호스(10)로부터 공급되도록 하기 위함이다. [도면 2(a)]와 같이 케이싱(31)에 송신부(32), 조작 버튼(33, 34, 35, 36)이 장착된 구조다.

 

케이싱(31)은 소방용 관창(12)에 탈착 결합된다. 나중에 얘기할 송신부(32)와 조작 버튼(33, 34, 35, 36) 등의 일체가 수용되는 공간을 제공한다. 내열성과 내구성이 우수한 소재가 적합하다.

 

송신부(32)는 케이싱(31)에 내장되고 무선 수신부(20)와 적외선 무선 통신, 라디오 주파수 무선 통신 중 어느 하나로 연결되도록 한다. CPU와 메모리, 전기 모터(51)의 가동ㆍ앵글밸브(52)의 개폐 조작 회로 등을 포함하고 있다.

 

조작 버튼(33, 34, 35, 36)은 케이싱(31)에 내장된다. 송신부(32)를 통해 전기 모터 가동을 제어하고 소방호스(10)로 공급되는 소방용수의 분사 압력을 조절한다.

 

도면 부호 33은 방수 압력을 증가시키기 위한 버튼이다. 도면 부호 34는 방수 압력을 감소하기 위한 버튼이다. 35는 전원을 켜 용수 공급 장치(50) 전체의 가동을 제어하는 역할을 한다. 36은 방수 압력을 초기화하기 위한 리셋 버튼이다. 도면 부호 31'는 현재의 방수 압력을 나타내는 디지털 압력 표시창이다. 무선 송신부(30)는 [도면 2(b)]와 같이 압력조절 다이얼(33')을 작업자가 미세하게 돌려가면서 방수 압력을 조절이 가능하다.

 

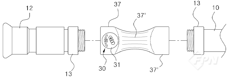
※ 부호의 설명

10...소방호스     12... 소방용 관창    13...소방호스 숫카플링    30...무선 송신부      31...케이싱   

37...연결구     37'...미끄럼 방지구

 [도면 3] 소방용수 압력조절 장치의 주요부인 무선송신부와 결합식 소방용관창 구조를 나타낸 개념도

 

무선 송신부(30)는 [도면 3]과 같이 케이싱(31)에 연결되고 내부에 소방호스(10)ㆍ소방용 관창(12)과 연결되는 내부 유로를 형성하는 연결구(37)를 더 포함한다. 연결구(37)의 양단부는 소방호스(10)ㆍ소방용 관창(12)에 각각 탈착 결합돼 상호 연통된다.

 

여기서 연결구(37) 표면에는 작업자가 손으로 쥐고 작업할 때 손에서 미끄러지지 않도록 돌기를 형성하거나 마찰 저항이 큰 소재 등으로 제작된 미끄럼 방지구(37')를 더 만들 수 있다. 따라서 연결구(37)의 양단부는 도시된 바와 같이 소방호스(10) 측의 연결구(13)와 소방용 관창(12)의 연결구(13)를 통해 나사로 결합돼 간단히 연통되게 할 수도 있다.

 

※ 부호의 설명

31...케이싱  33, 34, 35, 36...조작 버튼(상압 버튼, 하압 버튼 또는 열림 버튼, 닫힘 버튼) 

38...패스너  38'...체결구 55...방수 중지 버튼

▲ [도면 4] 소방용수 압력조절 장치 기능의 탈ㆍ부착식 소방용 무선관창 구조를 나타낸 개념도

한편 무선 송신부(30)는 [도면 4]와 같이 케이싱(31)에 연결되고 소방용 관창(12)의 외주면에 장착되는 밴드 형상의 패스너(38)를 더 포함하는 실시 예의 적용이 가능하다.

 

여기서 패스너(38) 단부에는 버클이나 후크, 돌기와 홈의 형태, 벨크로, 자석 등 다양한 종류의 체결구(38')를 더 구비해 [도면 1]의 확대부와 같이 소방용 관창(12)의 외주면에 고정되게 할 수 있다.

 

이렇듯 원격으로 손쉽게 옥내소화전이나 소방펌프차량의 소방용수 압력조절을 도울 수 있도록 소방용수의 압력조절 장치를 제공하는 걸 기본으로 한다. 물론 기본적인 기술적 사상의 범주 내에서 당해 업계 통상의 지식을 가진 자에게는 다른 많은 변형이나 응용도 가능할 거라고 생각한다.

 

 

 

 

 

 화재 현장에서의 활용법

원격 무선 방식 소방용 관창(이하 소방용 무선 관창)은 소방차, 옥내소화전과 관련이 있다. 활용 방법은 아래와 같이 소방차, 옥내소화전이 대동소이하다.

 

☞ 소방차 활용법

1. 소방차가 화재 현장에 도착하면 화재진압대원이 소방용 무선 관창을 파지하고 화점 인근까지 소방호스를 전개한다.

2. 소방호스 연장이 완료되면 소방용 무선 관창에 구성된 메인밸브 버튼을 눌러 메인밸브를 개방한다.

3. 메인밸브가 개방되면 방수압력조절용 버튼(+버튼ㆍ–버튼)을 눌러 방수를 시작한다.

4. 화재진압대원은 자신의 체력에 알맞은 방수압을 조절해 가며 화재를 진압한다.

5. 화재진압 도중 전진이나 후퇴, 좌ㆍ우측으로 이동해야 하는 경우 방수 중지 버튼을 눌러 방수 중지 상태에서 한다.

6. 화재진압이 완료되면 방수 중지 버튼과 메인밸브 닫힘 버튼을 눌러 방수를 중지한 후 철수한다. 

 

▲ [그림 1] 소방용 무선 관창에 의한 소방차의 작동원리

 

☞ 옥내소화전 활용법

1. 화재가 발생하면 최초 발견자가 옥내소화전함에서 소방용 무선 관창을 파지하고 소방호스를 연장한다.

2. 소방호스가 연장되면 소방용 무선 관창에 구성된 방수 버튼을 누른다.

3. 방수 버튼을 누르면 옥내소화전함 내부의 옥내소화전 앵글밸브가 개방돼 방수된다.

4. 화재진압이 종료되면 방수 중지 버튼을 누른다.

5. 철수한다. 

 

▲ [그림 2] 소방용 무선 관창에 의한 옥내소화전의 작동원리


발명의 기대효과

이 발명은 아래와 같은 기대효과가 있다.

 

1. 화재진압대원이 운전원 도움없이도 스스로 방수압력조절을 할 수 있다.

2. 소방용 무선 관창에서 옥내소화전함 또는 소방펌프차량의 무선 수신부와 직접 무선 통신으로 조작할 수 있어 체력 소모가 적다. 

3. 특히 무선 송신부 조작 버튼 등의 일체가 직관적인 구조로 돼 있어 남녀노소 누구라도 체력이나 숙련도에 관계없이 쉽게 사용할 수 있다.

4. 기존의 무거운 소방호스가 당겨질 경우나 과도한 방수압력으로 소방호스를 놓쳐 발생할 수 있는 불의의 사고를 미연에 방지할 수 있다.

 

본 발명에 대한 궁금한 점은 <119플러스>로 연락 주시기 바랍니다.

 

경기 용인소방서_ 황선우

 

<본 내용은 소방 조직의 소통과 발전을 위해 베테랑 소방관 등 분야 전문가들이 함께 2019년 5월 창간한 신개념 소방전문 월간 매거진 ‘119플러스’ 2020년 7월 호에서도 만나볼 수 있습니다.> 

소방관이 발명한 소방장비 관련기사목록
광고
[연속 기획]
[연속 기획- 화마를 물리치는 건축자재 ⑧] 내화채움구조 넘어 종합 방화솔루션 기업으로의 도약 꿈꾸는 아그니코리아(주)
1/5
광고
광고
광고
광고
광고
광고
광고
광고
광고
119플러스 많이 본 기사